GM Service Manual Online
For 1990-2009 cars

    Object Number: 1201537  Size: SH

    Important: 

       • The intake manifold, throttle body, fuel injection rail, and fuel injectors may be removed as an assembly. If not servicing the individual components, remove the manifold as a complete assembly.
       • DO NOT use the intake manifold-to-cylinder head gaskets again.

  1. Remove the positive crankcase ventilation (PCV) hose - dirty air.

  2. Object Number: 1235681  Size: SH
  3. Remove the PCV hose - fresh air.

  4. Object Number: 1277093  Size: SH
  5. Remove the manifold absolute pressure (MAP) sensor (714), if required.
  6. Remove the engine coolant air bleed clamp and hose from the throttle body, if applicable.

  7. Object Number: 1277094  Size: SH
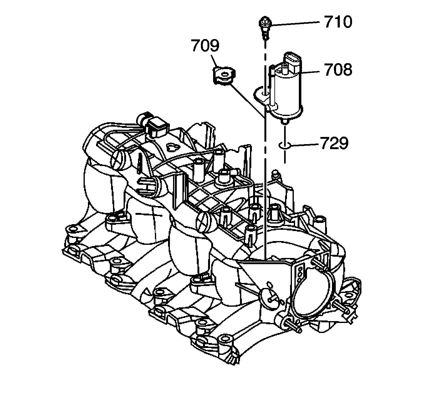
  8. Remove the evaporative (EVAP) emission canister purge solenoid valve (708), bolt (710), and isolator (709).

  9. Object Number: 1201541  Size: SH
  10. Remove the intake manifold bolts.
  11. Remove the intake manifold with gaskets.

  12. Object Number: 1277097  Size: SH
  13. Separate the intake manifold-to-cylinder head gaskets (514) from the manifold.
  14. Discard the intake manifold gaskets.