GM Service Manual Online
For 1990-2009 cars

Tools Required

    • J 24204-2 Bar and Stud Assembly
    • J 44530 3rd, 5th, and Reverse Clutch/2nd Clutch Piston Spring Compressor

    Notice: Refer to 3-5 Reverse Clutch Backing Plate Rivet Damage Notice in the Preface section.


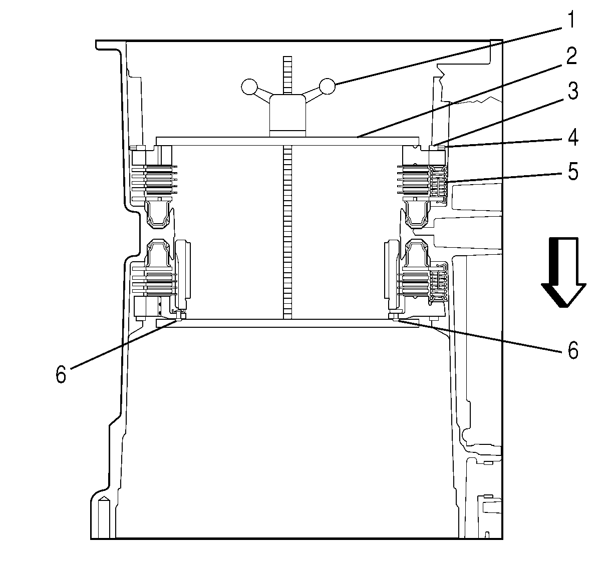
    Object Number: 1216950  Size: SH
  1. Install J 24204-2  (1) and J 44530  (2) into the transmission case. Make sure that J 24204-2 does not touch the gear thrust plate rivets (6) on the 3rd, 5th, and reverse clutch backing plate assembly.
  2. Compress the piston return spring assemblies (5) until a gap is visible below the retaining rings (3 and 4).
  3. Important: The outer 2nd clutch retaining ring is thinner and larger in circumference compared to the inner low and reverse clutch retaining ring.

  4. Remove the low and reverse clutch retaining ring (3).
  5. Remove the 2nd clutch retaining ring (4).
  6. Remove J 24204-2  (1) and J 44530  (2) from the transmission case.

  7. Object Number: 1216953  Size: SH
  8. Remove the 2nd clutch backing plate (1).

  9. Object Number: 1216952  Size: SH
  10. Remove five 2nd clutch fiber plates (1) and four 2nd clutch steel plates (2).
  11. Remove, as a unit, the 2nd clutch spring plate (4) and 3 piston return spring assemblies (3).

  12. Object Number: 1216955  Size: SH

    Important: The piston return spring assemblies snap off.

  13. Remove 3 piston return spring assemblies (1) from the 2nd clutch spring plate (2).

  14. Object Number: 1216956  Size: SH
  15. Remove the input internal ring gear (1).