GM Service Manual Online
For 1990-2009 cars
Makes
🢒
Chevrolet
🢒
2004
🢒
Tahoe - 2WD
🢒
Transmission/Transaxle
🢒
Automatic Transmission - 4L60-E/4L65-E
🢒 Automatic Transmission Controls Schematics
Figure
1:
Valve Controls and Brake Switch
Master Electrical Component List
Electronic Component Description
Switch Inputs
Engine Controls Schematic Icons
Ignition Switch - START, and RUN Bus Bars
BRAKE, HTR/AC, HVAC I, CRUISE, 4WD Fuses
Ignition Switch - ACC/RUN/START, ACC/RUN, and RUN/START Bus Bars
BRAKE, HTR/AC, HVAC I, CRUISE, 4WD Fuses
IGN 0, TBC IGN 0, TBC ACCY, SEO ACCY, W/S WPR, RR WPR Fuses
Stop Lamp Switch and Traction Control Switch
Figure
2:
Switch Inputs
Master Electrical Component List
Electronic Component Description
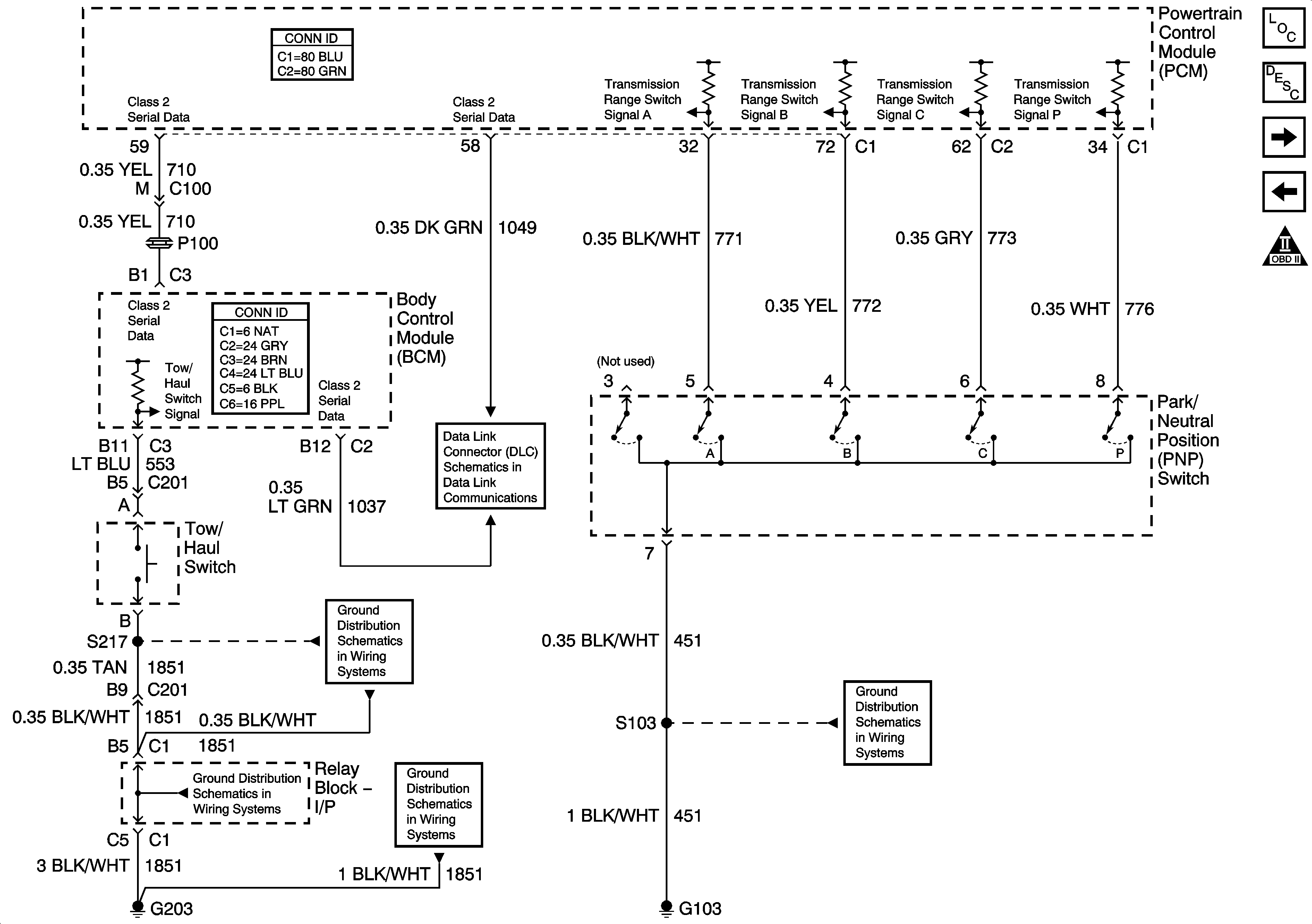
Tow/Haul Switch and PNP Switch Inputs
Valve Controls and Brake Switch
Engine Controls Schematic Icons
Figure
3:
Tow/Haul Switch and PNP Switch Inputs
Master Electrical Component List
Electronic Component Description
Vehicle Speed Signal and 4WD Low Signal
Switch Inputs
Engine Controls Schematic Icons
SP205 - 2 of 2
G203 - 3 of 3
G203 - 1 of 3
G203 - 1 of 3
G102, G103
Figure
4:
Vehicle Speed Signal and 4WD Low Signal
Master Electrical Component List
Electronic Component Description
Tow/Haul Switch and PNP Switch Inputs
Engine Controls Schematic Icons