GM Service Manual Online
For 1990-2009 cars
Table 1: Climate Control Seat Module - Driver C1 (ULT)
Table 2: Climate Control Seat Module - Driver C2 (ULT)
Table 3: Climate Control Seat Module - Front Passenger C1 (ULT)
Table 4: Climate Control Seat Module - Front Passenger C2 (ULT)
Table 5: Climate Control Seat Module - Left Rear C1 (ULT)
Table 6: Climate Control Seat Module - Left Rear C2 (ULT)
Table 7: Climate Control Seat Module - Right Rear C1 (ULT)
Table 8: Climate Control Seat Module - Right Rear C2 (ULT)
Table 9: Driver Door Module (DDM) - C5 (Memory/Heated Seat Switch - Driver)
Table 10: Front Passenger Door Module (FPDM) - C5 (Heated Seat Switch - Front Passenger)
Table 11: Heated Seat Control Module - LR
Table 12: Heated Seat Control Module - RR
Table 13: Heated Seat Switch - RR
Table 14: Heated Seat Switch - LR
Table 15: Heat/Cool Seat Switch - Driver/Passenger C1
Table 16: Heat/Cool Seat Switch - Driver/Passenger C2
Table 17: Heat/Cool Seat Switch - Left Rear
Table 18: Heat/Cool Seat Switch - Right Rear
Table 19: Heat/Cool Switch Signal Converter C1
Table 20: Heat/Cool Switch Signal Converter C2
Table 21: Heat/Cool Switch Signal Converter C3
Table 22: Memory Seat Module - Driver C1
Table 23: Memory Seat Module - Driver C2
Table 24: Memory Seat Module - Driver C3
Table 25: Memory Seat Module - Driver C4
Table 26: Seat Adjuster Switch - Driver (AN3)
Table 27: Seat Adjuster Switch - Driver (AG2)
Table 28: Seat Adjuster Switch - Front Passenger
Table 29: Lumbar/Bolster Switch - Driver
Table 30: Lumbar/Bolster Switch - Front Passenger
Table 31: Seat Bolster Motor/Position Sensor - Driver
Table 32: Seat Lumbar Motor/Position Sensor - Driver
Table 33: Seat Recliner Motor - Driver
Table 34: Seat Recliner Motor Position Sensor - Driver
Table 35: Seat Recliner Motor - Front Passenger
Table 36: Seat Front Vertical Motor Position Sensor - Driver
Table 37: Seat Front Vertical Motor - Driver
Table 38: Seat Front Vertical Motor - Front Passenger
Table 39: Seat Horizontal Motor Position Sensor - Driver
Table 40: Seat Rear Vertical Motor Position Sensor - Driver
Table 41: Seat Rear Vertical Motor - Driver
Table 42: Seat Rear Vertical Motor - Front Passenger

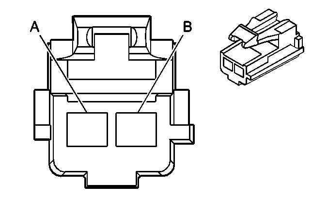
Climate Control Seat Module - Driver C1 (ULT)


Object Number: 62450  Size: CH

Connector Part Information

    • 12052856
    • 4-Way F Metri-Pack 280 Series (BLK)

Pin

Wire Color

Circuit No.

Function

A

--

--

Not Used

B

DK BLU/WHT

541

Ignition 3 Voltage

C

BLK

1150

Ground

D

ORN

6909

Battery Positive Voltage

Climate Control Seat Module - Driver C2 (ULT)


Object Number: 1317472  Size: CH

Connector Part Information

    • 638082-1
    • 20-Way F Hybrid Series (BLK)

Pin

Wire Color

Circuit No.

Function

1

LT GRN/WHT

2078

Driver Seat Cushion Heated/Cool Ventilation Module Heat Control

2

BLK

2077

Driver Seat Cushion Heated/Cool Ventilation Module Cool Control

3

DK GRN

904

Logic Power

4

BRN

903

Low Reference

5-7

--

--

Not Used

8

DK GRN/WHT

940

Logic Power

9

BRN/WHT

930

Low Reference

10

LT BLU

901

Driver Seat Back Blower Speed Control

11

LT GRN

2024

Driver Seat Back Heated/Cool Ventilation Module Heat Control

12

WHT

2032

Driver Seat Back Heated/Cool Ventilation Module Cool Control

13

DK BLU

909

Driver Seat Cushion Blower Speed Control

14

YEL

902

Driver Seat Back Blower Tach Signal

15

RED/WHT

6884

Heated/Cool Seat Mode Signal

16

PPL

910

Driver Seat Cushion Blower Tachometer Signal

17

TAN/WHT

2080

Low Reference

18

RED

2079

Driver Seat Cushion Temperature Sensor Signal

19

PNK

2425

Driver Seat Back Temperature Sensor Signal

20

TAN

2426

Low Reference

Climate Control Seat Module - Front Passenger C1 (ULT)


Object Number: 62450  Size: CH

Connector Part Information

    • 12052856
    • 4-Way F Metri-Pack 280 Series (BLK)

Pin

Wire Color

Circuit No.

Function

A

--

--

Not Used

B

DK BLU/WHT

541

Ignition 3 Voltage

C

BLK

1250

Ground

D

ORN

6918

Battery Positive Voltage

Climate Control Seat Module - Front Passenger C2 (ULT)


Object Number: 1317472  Size: CH

Connector Part Information

    • 638082-1
    • 20-Way F Hybrid Series (BLK)

Pin

Wire Color

Circuit No.

Function

1

LT GRN/WHT

2078

Passenger Seat Cushion Heated/Cool Ventilation Module Heat Control

2

BLK

2077

Passenger Seat Cushion Heated/Cool Ventilation Module Cool Control

3

DK GRN

904

Logic Power

4

BRN

903

Low Reference

5-7

--

--

Not Used

8

DK GRN/WHT

940

Logic Power

9

BRN/WHT

930

Low Reference

10

LT BLU

901

Passenger Seat Back Blower Speed Control

11

LT GRN

905

Passenger Seat Back Heated/Cool Ventilation Module Heat Control

12

DK BLU

906

Passenger Seat Back Heated/Cool Ventilation Module Cool Control

13

DK BLU

909

Passenger Seat Cushion Blower Speed Control

14

YEL

902

Passenger Seat Back Blower Tach Signal

15

RED/WHT

6905

Heated/Cool Seat Mode Signal

16

PPL

910

Passenger Seat Cushion Blower Tachometer Signal

17

TAN/WHT

2080

Low Reference

18

RED

2079

Passenger Seat Cushion Temperature Sensor Signal

19

PNK

2425

Passenger Seat Back Temperature Sensor Signal

20

TAN

2426

Low Reference

Climate Control Seat Module - Left Rear C1 (ULT)


Object Number: 62450  Size: CH

Connector Part Information

    • 12052856
    • 4-Way F Metri-Pack 280 Series (BLK)

Pin

Wire Color

Circuit No.

Function

A

--

--

Not Used

B

BRN

541

Ignition 3 Voltage

C

BLK

1150

Ground

D

ORN

6908

Battery Positive Voltage

Climate Control Seat Module - Left Rear C2 (ULT)


Object Number: 1317472  Size: CH

Connector Part Information

    • 638082-1
    • 20-Way F Hybrid Series (BLK)

Pin

Wire Color

Circuit No.

Function

1

LT GRN

2078

Left Rear Seat Cushion Heated/Cool Ventilation Module Heat Control

2

RED/WHT

2077

Left Rear Seat Cushion Heated/Cool Ventilation Module Cool Control

3

ORN

904

Logic Power

4

ORN

903

Low Reference

5-7

--

--

Not Used

8

ORN

940

Logic Power

9

ORN

930

Low Reference

10

ORN

901

Left Rear Seat Back Blower Speed Control

11

ORN

2024

Left Rear Seat Back Heated/Cool Ventilation Module Heat Control

12

ORN

2032

Left Rear Seat Back Heated/Cool Ventilation Module Cool Control

13

ORN

909

Left Rear Seat Cushion Blower Speed Control

14

ORN

902

Left Rear Seat Back Blower Tach Signal

15

RED/WHT

1637

Heated/Cool Seat Mode Signal

16

ORN

910

Left Rear Seat Cushion Blower Tachometer Signal

17

YEL

2080

Low Reference

18

YEL/BLK

2079

Left Rear Seat Cushion Temperature Sensor Signal

19

DK BLU

2425

Left Rear Seat Back Temperature Sensor Signal

20

PNK

2426

Low Reference

Climate Control Seat Module - Right Rear C1 (ULT)


Object Number: 62450  Size: CH

Connector Part Information

    • 12052856
    • 4-Way F Metri-Pack 280 Series (BLK)

Pin

Wire Color

Circuit No.

Function

A

--

--

Not Used

B

BRN

541

Ignition 3 Voltage

C

BLK

1250

Ground

D

ORN

6907

Battery Positive Voltage

Climate Control Seat Module - Right Rear C2 (ULT)


Object Number: 1317472  Size: CH

Connector Part Information

    • 638082-1
    • 20-Way F Hybrid Series (BLK)

Pin

Wire Color

Circuit No.

Function

1

LT GRN

2078

Right Rear Seat Cushion Heated/Cool Ventilation Module Heat Control

2

RED/WHT

2077

Right Rear Seat Cushion Heated/Cool Ventilation Module Cool Control

3

ORN

904

Logic Power

4

ORN

903

Low Reference

5-7

--

--

Not Used

8

ORN

940

Logic Power

9

ORN

930

Low Reference

10

ORN

901

Right Rear Seat Back Blower Speed Control

11

ORN

2024

Right Rear Seat Back Heated/Cool Ventilation Module Heat Control

12

ORN

2032

Right Rear Seat Back Heated/Cool Ventilation Module Cool Control

13

ORN

909

Right Rear Seat Cushion Blower Speed Control

14

ORN

902

Right Rear Seat Back Blower Tach Signal

15

RED/WHT

1634

Heated/Cool Seat Mode Signal

16

ORN

910

Right Rear Seat Cushion Blower Tachometer Signal

17

YEL

2080

Low Reference

18

YEL/BLK

2079

Right Rear Seat Cushion Temperature Sensor Signal

19

DK BLU

2425

Right Rear Seat Back Temperature Sensor Signal

20

PNK

2426

Low Reference

Driver Door Module (DDM) - C5 (Memory/Heated Seat Switch - Driver)


Object Number: 849815  Size: CH

Connector Part Information

    • 6383393-4
    • 12-Way F Amp 0.64 mm Unsealed (GRN)

Pin

Wire Color

Circuit No.

Function

1

WHT/BLK

--

Medium Heat Indicator Control

2

YEL

--

Low Heat Indicator Control

3

GRY

--

Back Only Select

4

LT BLU

--

Memory/Heated Seat Backlight

5

PNK

--

Memory 2 Switch Signal

6

TAN

--

Adjustable Pedals Motor Forward Control (JF4)

7

DK GRN

--

High Heat Indicator Control

8

BLK

--

Back Only Indicator

9

DK BLU

--

Back and Cushion Select

10

RED

--

Memory 1 Switch Signal

11

BRN

--

Memory/Heated Switch Supply Voltage

12

ORN

--

Adjustable Pedals Motor Rearward Control (JF4)

Front Passenger Door Module (FPDM) - C5 (Heated Seat Switch - Front Passenger)


Object Number: 849815  Size: CH

Connector Part Information

    • 6383393-4
    • 12-Way F Amp 0.64 mm Unsealed (GRN)

Pin

Wire Color

Circuit No.

Function

1

YEL

--

Low Heat Indicator Control

2

GRN

--

High Heat Indicator Control

3

DK BLU

--

Back and Cushion Select

4

GRY

--

Back Only Select

5

--

--

Not Used

6

BRN

--

Memory/Heated Seat Switch Supply Voltage

7

BLK

--

Back Only Indicator Control

8

WHT/BLK

--

Medium Heat Indicator Control

9-11

--

--

Not Used

12

LT BLU

--

Heated Seat Switch Backlight

Heated Seat Control Module - LR


Object Number: 887125  Size: CH

Connector Part Information

    • 15339007
    • 9-Way F Metri-Pack 280, 630 Series (BRN)

Pin

Wire Color

Circuit No.

Function

A

RED/WHT

2075

Heated Seat Cushion Element Control

B

BRN/WHT

1637

Left Rear Heated Seat Switch Signal

C

BRN

541

Ignition 3 Voltage

D

ORN

4540

Battery Positive Voltage

E

YEL

2079

Heated Seat Cushion Temperature Sensor Signal

F

BLK

1150

Ground

G

BLK/WHT

1638

Left Rear Heated Seat High Temperature Indicator Control

H

PNK

1631

Left Rear Heated Seat Low Temperature Indicator Control

J

BLK

2080

Low Reference

Heated Seat Control Module - RR


Object Number: 887125  Size: CH

Connector Part Information

    • 15339007
    • 9-Way F Metri-Pack 280, 630 Series (BRN)

Pin

Wire Color

Circuit No.

Function

A

RED/WHT

2075

Heated Seat Cushion Element Control

B

BRN/WHT

1634

Right Rear Heated Seat Switch Signal

C

BRN

541

Ignition 3 Voltage

D

ORN

4540

Battery Positive Voltage

E

YEL

2079

Heated Seat Cushion Temperature Sensor Signal

F

BLK

1250

Ground

G

BLK/WHT

1635

Right Rear Heated Seat High Temperature Indicator Control

H

PNK

1636

Right Rear Heated Seat Low Temperature Indicator Control

J

BLK

2080

Low Reference

Heated Seat Switch - RR


Object Number: 130714  Size: CH

Connector Part Information

    • 12124997
    • 5-Way F (BLK)

Pin

Wire Color

Circuit No.

Function

A

PNK

1636

Right Rear Heated Seat Low Indicator Control

B

BLK/WHT

1635

Right Rear Heated Seat High Indicator Control

C

BRN

1634

Right Rear Heated Seat Switch Signal

D

BRN/WHT

230

Instrument Panel Lamps Dimming Control

E

BLK

1050

Ground

Heated Seat Switch - LR


Object Number: 130714  Size: CH

Connector Part Information

    • 12124997
    • 5-Way F Metri-Pack 150 Series (BLK)

Pin

Wire Color

Circuit No.

Function

A

PNK

1631

Left Rear Heated Seat Low Indicator Control

B

BLK/WHT

1638

Left Rear Heated Seat High Indicator Control

C

BRN

1637

Left Rear Heated Seat Switch Signal

D

BRN/WHT

230

Instrument Panel Lamps Dimming Control

E

BLK

1050

Ground

Heat/Cool Seat Switch - Driver/Passenger C1


Object Number: 1399228  Size: CH

Connector Part Information

    • 15417521
    • 12-Way F (GY)

Pin

Wire Color

Circuit No.

Function

1

GY/BK

6911

Converter Module Driver & Passenger Switch Passenger Select Heat

2

GY/RD

6912

Converter Module Driver & Passenger Switch Passenger Select Cool

3

GY/WH

6915

Converter Module Driver & Passenger Switch Passenger Seat & Back Select

4

GY/YE

6916

Converter Module Driver & Passenger Switch Passenger Back Only Select

5

RD/BK

6920

Converter Module Driver & Passenger Switch Passenger LED High Heat Signal

6

D-GN/OG

6921

Converter Module Driver & Passenger Switch Passenger LED High Cool Signal

7

OG/RD

6924

Convertor Module Driver & Passenger Switch Passenger LED Medium Heat Signal

8

D-GN/WH

6925

Module Convertor Module Driver & Passenger Switch Passenger LED Medium Cool Signal

9

D-GN/YE

6927

Convertor Module Driver & Passenger Switch Passenger LED Low Heat Signal

10

L-GN/BK

6930

Converter Module Driver & Passenger Switch Passenger LED Low Cool Signal

11

L-GN/PU

6931

Converter Module Driver & Passenger Switch Passenger LED Back Only Signal

12

--

--

Not Used

Heat/Cool Seat Switch - Driver/Passenger C2


Object Number: 1696912  Size: CH

Connector Part Information

    • 13512930
    • 18-Way F (GY)

Pin

Wire Color

Circuit No.

Function

1

L-BU/PK

6910

Converter Mod Driver & Passenger Switch Driver Select Heat

2

L-BU/BK

6913

Converter Module Driver & Passenger Switch Driver Select Cool

3

BN/L-BU

6914

Converter Module Driver & Passenger Switch Driver Seat Back Select

4

L-BU/WH

6917

Converter Module Driver & Passenger Switch Driver Back Only Select

5

L-BU/YE

6919

Converter Module Driver & Passenger Switch Driver LED High Heat Signal

6

TN/BK

6922

Converter Module Driver & Passenger Switch Driver LED High Cool Signal

7

BN/L-GN

6923

Convertor Module Driver & Passenger Switch Driver LED Medium Heat Signal

8

BN/OG

6926

Convertor Module Driver & Passenger Switch Driver LED Medium Cool Signal

9

RD/WH

6928

Module Convertor Module Driver & Passenger Switch Driver LED Low Heat Signal

10

BN/WH

6929

Convertor Module Driver & Passenger Switch Driver LED Low Cool Signal

11

OG/L-BU

6932

Converter Module Driver & Passenger Switch Driver LED Back Only Signal

12

L-GN/YE

230

Instrument Panel Lamp Dimming Control

13

OG/BK

541

Run Ignition 3 Voltage

14

L-GN/RD

1050

Ground

15

--

--

Not Used

16

--

--

Not Used

17

--

--

Not Used

18

--

--

Not Used

Heat/Cool Seat Switch - Left Rear


Object Number: 1696912  Size: CH

Connector Part Information

    • 13512930
    • 18-Way F (GY)

Pin

Wire Color

Circuit No.

Function

1

D-BU

6937

Converter Module Left Rear Heated/Cooled Switch System Select Heat Signal

2

L-BU

6938

Converter Module Left Rear Heated/Cooled Switch System Select Cool Signal

3

BN

6939

Converter Module Left Rear Heated/Cooled Switch System Select Seat & Back Signal

4

GY

6941

Converter Module Left Rear Heated/Cooled Switch System Select Back Only Signal

5

BK/TN

6942

Converter Module Left Rear Heated/Cooled Switch Indicator High Heat Signall

6

D-GN

6943

Converter Module Left Rear Heated/Cooled Switch Indicator High Cool Signal

7

L-GN

6944

Converter Module Left Rear Heated/Cooled Switch Indicator Medium Heat Signal

8

WH

6945

Converter Module Left Rear Heated/Cooled Switch Indicator Medium Cool Signal

9

OG

6946

Converter Module Left Rear Heated/Cooled Switch Indicator Low Heat Signal

10

PK

6947

Converter Module Left Rear Heated/Cooled Switch Indicator Low Cool Signal

11

RD

6948

Converter Module Left Rear Heated/Cooled Switch Indicator Back Only Signal

12

PU

230

Instrument Panel Lamp Dimming Control

13

YN

541

Run Ignition 3 Voltage

14

YE

1050

Ground

15

--

--

Not Used

16

--

--

Not Used

17

--

--

Not Used

18

--

--

Not Used

Heat/Cool Seat Switch - Right Rear


Object Number: 1696910  Size: CH

Connector Part Information

    • 13512931
    • 18-Way F (BK)

Pin

Wire Color

Circuit No.

Function

1

BK/GY

6949

Converter Module Right Rear Heated/Cooled Switch System Select Heat Signal

2

BK/L-BU

6952

Converter Module Right Rear Heated/Cooled Switch System Select Cool Signal

3

TN/WH

6953

Converter Module Right Rear Heated/Cooled Switch System Select Seat & Back Signal

4

L-GN/WH

6954

Converter Module Right Rear Heated/Cooled Switch System Select Back Only Signal

5

BK/OG

6955

Converter Module Right Rear Heated/Cooled Switch Indicator High Heat Signal

6

BK/PK

6956

Converter Module Right Rear Heated/Cooled Switch Indicator High Cool Signal

7

WH/BK

6957

Converter Module Right Rear Heated/Cooled Switch Indicator Medium Heat Signal

8

D-BU/OG

6958

Converter Module Right Rear Heated/Cooled Switch Indicator Medium Cool Signal

9

YE/BK

6959

Converter Module Right Rear Heated/Cooled Switch Indicator Low Heat Signal

10

D-BU/WH

6960

Converter Module Right Rear Heated/Cooled Switch Indicator Low Cool Signal

11

BK/WH

61

Converter Module Right Rear Heated/Cooled Switch Indicator Back Only Signal

12

BK/YE

230

Instrument Panel Lamp Dimming Control

13

L-BU/OG

541

Run Ignition 3 Voltage

14

D-BU/L-GN

1050

Ground

15

--

--

Not Used

16

--

--

Not Used

17

--

--

Not Used

18

--

--

Not Used

Heat/Cool Switch Signal Converter C1


Object Number: 130689  Size: CH

Connector Part Information

    • 12110244
    • 24-Way F (PK)

Pin

Wire Color

Circuit No.

Function

A1

BN/WH

230

Instrument Panel Lamp Dimming Control

A2

BK

1050

Ground

A3

BK

541

Run Ignition 3 Voltage

A4

L-BU/PK

6910

Converter Module Driver & Passenger Switch Driver Select Heat

A5

L-BU/BK

6913

Converter Module Driver & Passenger Switch Driver Select Cool

A6

BN/L-BU

6914

Converter Module Driver & Passenger Switch Driver Seat Back Select

A7

L-BU/WH

6917

Converter Module Driver & Passenger Switch Driver Back Only Select

A8

L-BU/YE

6919

Converter Module Driver & Passenger Switch Driver LED High Heat Signal

A9

TN/BK

6922

Converter Module Driver & Passenger Switch Driver LED High Cool Signal

A10

BN/L-GN

6923

Convertor Module Driver & Passenger Switch Driver LED Medium Heat Signal

A11

BN/OG

6926

Convertor Module Driver & Passenger Switch Driver LED Medium Cool Signal

A12

RD/WH

6928

Module Convertor Module Driver & Passenger Switch Driver LED Low Heat Signal

B1

BN/WH

6929

Convertor Module Driver & Passenger Switch Driver LED Low Cool Signal

B2

OG/L-BU

6932

Converter Module Driver & Passenger Switch Driver LED Back Only Signal

B3

PU/WH

1382

LED Dimming Signal

B4

--

--

Not Used

B5

--

--

Not Used

B6

GY/BK

6911

Converter Module Driver & Passenger Switch Passenger Select Heat

B7

GY/RD

6912

Converter Module Driver & Passenger Switch Passenger Select Cool

B8

GY/WH

6915

Converter Module Driver & Passenger Switch Passenger Seat & Back Select

B9

GY/YE

6916

Converter Module Driver & Passenger Switch Passenger Back Only Select

B10

RD/BK

6920

Converter Module Driver & Passenger Switch Passenger LED High Heat Signal

B11

D-GN/OG

6921

Converter Module Driver & Passenger Switch Passenger LED High Cool Signal

B12

OG/RD

6924

Convertor Module Driver & Passenger Switch Passenger LED Medium Heat Signal

Heat/Cool Switch Signal Converter C2


Object Number: 73156  Size: CH

Connector Part Information

    • 12110088
    • 24-Way F (GY)

Pin

Wire Color

Circuit No.

Function

A1

D-GN/WH

6925

Module Convertor Module Driver & Passenger Switch Passenger LED Medium Cool Signal

A2

D-GN/YE

6927

Convertor Module Driver & Passenger Switch Passenger LED Low Heat Signal

A3

L-GN/BK

6930

Converter Module Driver & Passenger Switch Passenger LED Low Cool Signal

A4

L-GN/PU

6931

Converter Module Driver & Passenger Switch Passenger LED Back Only Signal

A5

L-GN/RD

1050

Ground

A6

L-GN/YE

230

Instrument Panel Lamp Dimming Control

A7

OG/BK

541

Run Ignition 3 Voltage

A8

D-BU

6937

Converter Module Left Rear Heated/Cooled Switch System Select Heat Signal

A9

L-BU

6938

Converter Module Left Rear Heated/Cooled Switch System Select Cool Signal

A10

BN

6939

Converter Module Left Rear Heated/Cooled Switch System Select Seat & Back Signal

A11

GY

6941

Converter Module Left Rear Heated/Cooled Switch System Select Back Only Signal

A12

BK/TN

6942

Converter Module Left Rear Heated/Cooled Switch Indicator High Heat Signal

B1

D-GN

6943

Converter Module Left Rear Heated/Cooled Switch Indicator High Cool Signal

B2

L-GN

6944

Converter Module Left Rear Heated/Cooled Switch Indicator Medium Heat Signal

B3

WH

6945

Converter Module Left Rear Heated/Cooled Switch Indicator Medium Cool Signal

B4

OG

6946

Converter Module Left Rear Heated/Cooled Switch Indicator Low Heat Signal

B5

PK

6947

Converter Module Left Rear Heated/Cooled Switch Indicator Low Cool Signal

B6

RD

6948

Converter Module Left Rear Heated/Cooled Switch Indicator Back Only Signal

B7

YE

1050

Ground

B8

PU

230

Instrument Panel Lamp Dimming Control

B9

TN

541

Run Ignition 3 Voltage

B10

BK/GY

6949

Converter Module Right Rear Heated/Cooled Switch System Select Heat Signal

B11

BK/L-BU

6952

Converter Module Right Rear Heated/Cooled Switch System Select Cool Signal

B12

TN/WH

6953

Converter Module Right Rear Heated/Cooled Switch System Select Seat & Back Signal

Heat/Cool Switch Signal Converter C3


Object Number: 73152  Size: CH

Connector Part Information

    • 12084945
    • 16-Way F (GY)

Pin

Wire Color

Circuit No.

Function

A1

L-GN/WH

6954

Converter Module Right Rear Heated/Cooled Switch System Select Back Only Signal

A2

BK/OG

6955

Converter Module Right Rear Heated/Cooled Switch Indicator High Heat Signal

A3

PK/BK

6956

Converter Module Right Rear Heated/Cooled Switch Indicator High Cool Signal

A4

WH/BK

6957

Converter Module Right Rear Heated/Cooled Switch Indicator Medium Heat Signal

A5

D-BU/OG

6958

Converter Module Right Rear Heated/Cooled Switch Indicator Medium Cool Signal

A6

YE-BK

6959

Converter Module Right Rear Heated/Cooled Switch Indicator Low Heat Signal

A7

D-BU/WH

6960

Converter Module Right Rear Heated/Cooled Switch Indicator Low Cool Signal

A8

BK/WH

6961

Converter Module Right Rear Heated/Cooled Switch Indicator Back Only Signal

B1

D-BU/L-GN

1050

Ground

B2

BK/YE

230

Instrument Panel Lamp Dimming Control

B3

L-BU/OG

541

Run Ignition 3 Voltage

B4

PK/L-BU

6864

Driver Seat Control Module Heated/Cooled Seat Seat Switch Input

B5

OG/WH

6905

Passenger Seat Control Module Heated/Cooled Seat Switch Input

B6

PK/BK

1637

Left Rear Heated Seat Switch Signal

B7

PK/L-GN

1634

Right Rear Heated Seat Switch Signal

B8

PU/WH

1382

LED Dimming Signal

Memory Seat Module - Driver C1


Object Number: 845625  Size: CH

Connector Part Information

    • 7283-5560-40
    • 8-Way F Yazaki 2.8 mm Unsealed (LT GRY)

Pin

Wire Color

Circuit No.

Function

1

LT GRN

276

Driver Seat Recline Motor Forward Control

2

LT BLU

277

Driver Seat Recline Motor Rearward Control

3

TAN

285

Driver Seat Horizontal Motor Forward Control

4

LT GRN

284

Driver Seat Horizontal Motor Rearward Control

5

LT BLU

283

Driver Seat Rear Vertical Motor Down Control

6

YEL

282

Driver Seat Rear Vertical Motor Up Control

7

DK BLU

287

Driver Seat Front Vertical Motor Down Control

8

DK GRN

286

Driver Seat Front Vertical Motor Up Control

Memory Seat Module - Driver C2


Object Number: 845613  Size: CH

Connector Part Information

    • 7283-5625-40
    • 13-Way F Yazaki Hybrid Unsealed (LT GRY)

Pin

Wire Color

Circuit No.

Function

1

ORN

1440

Battery Positive Voltage

2-3

--

--

Not Used

4

DK BLU

611

Driver Seat Lumbar Motor Forward Control

5

PNK

610

Driver Seat Lumbar Motor Rearward Control

6

--

--

Not Used

7

BLK

1150

Ground

8

--

--

Not Used

9

YEL

1257

Driver Seat Torso Bolster In Control

10

PPL

1258

Driver Seat Torso Bolster Out Control

11-13

--

--

Not Used

Memory Seat Module - Driver C3


Object Number: 845626  Size: CH

Connector Part Information

    • 174516-2
    • 26-Way F Amp Hybrid (BLK)

Pin

Wire Color

Circuit No.

Function

1

RED/WHT

2077

Heated Seat Cushion Element Supply Voltage - w/KA7

2-3

--

--

Not Used

4

TAN

2408

Driver Seat Lumbar Motor Rearward Control

5

GRY/RED

5702

Driver Seat Torso Bolster Out Switch Signal

6

DK GRN/

WHT

1270

Power Seat Recline Rearward Switch Signal

7

--

--

Not Used

8

LT GRN

1523

Power Seat Horizontal Rearward Switch Signal

9

LT BLU

1521

Power Seat Rear Vertical Down Switch Signal

10

DK BLU

1520

Power Seat Front Vertical Down Switch Signal

11

--

--

Not Used

12

WHT

940

12-Volt Reference

13

WHT

570B

Driver Seat Recline Motor Position Sensor Voltage Reference

14

BRN

2432

Driver Heated Seat Back Element Supply Voltage-w/KA7

15-16

--

--

Not Used

17

YEL

2407

Driver Seat Lumbar Motor Forward Switch Signal

18

WHT/RED

5701

Driver Seat Torso Bolster in Switch Signal

19

GRY/BLK

1269

Power Seat Recline Forward Switch Signal

20

--

--

Not Used

21

TAN

1522

Power Seat Horizontal Forward Switch Signal

22

YEL

1519

Power Seat Rear Vertical Up Switch Signal

23

DK GRN

1518

Power Seat Front Vertical Up Switch Signal

24

ORN

1540

Switch Voltage Supply

25

BRN/WHT

5288

Low Reference

26

BLK

570A

Low Reference

Memory Seat Module - Driver C4


Object Number: 845627  Size: CH

Connector Part Information

    • 174515-6
    • 22-Way F Amp Hybrid (GRY)

Pin

Wire Color

Circuit No.

Function

1

LT BLU

2433

Passenger Heated Seat Back Element Control - w/KA7

2

PNK

2480

Heated Seat Cushion Element Control - w/KA7

3

BRN/WHT

557

Front Vertical Seat Motor Position Sensor Signal

4

DK GRN

569

Horizontal Seat Motor Position Sensor Signal

5

YEL

1063

Driver Seat Lumbar Horizontal Position Sensor Signal

6

PPL

5700

Driver Seat Torso Bolster Position Sensor Signal

7

--

--

Not Used

8

DK BLU

2425

Driver Heated Seat Back Temperature Sensor Signal - w/KA7

9

BRN/WHT

1048

SCM (Seat) Class 2 Serial Data

10

--

--

Not Used

11

DK BLU

2479

Passenger Heated Seat Element Supply Voltage - w/KA7

12

PPL

2424

Driver Heated Seat Back Element Control - w/KA7

13

LT GRN

2078

Heated Seat Cushion Element Control - w/KA7

14

TAN

568

Rear Vertical Seat Motor Position Sensor Signal

15

--

--

Not Used

16

BLK/WHT

570

Driver Seat Recline Motor Position Sensor Signal

17

PNK

5289

Adjustable Pedals Position Sensor Signal

18

--

--

Not Used

19

DK BLU

5475

Front Passenger Heated Seat Back Temperature Signal

20-21

--

--

Not Used

22

DK BLU

2479

Passenger Heated Seat Element Supply Voltage

Seat Adjuster Switch - Driver (AN3)


Object Number: 476149  Size: CH

Connector Part Information

    • 15326110
    • 12-Way F GT 280 Series (BLK)

Pin

Wire Color

Circuit No.

Function

A

DK GRN/

WHT

1270

Power Seat Recline Rearward Switch Signal

B

GRY/BLK

1269

Power Seat Recline Forward Switch Signal

C

--

--

Not Used

D

LT GRN

1523

Power Seat Horizontal Rearward Switch Signal

E

TAN

1522

Power Seat Horizontal Forward Switch Signal

F

ORN

1540

Battery Positive Voltage - Memory Seat Module

ORN

1540

Battery Positive Voltage - Lumbar/Bolster Switch

G-H

--

--

Not Used

J

LT BLU

1521

Power Seat Rear Vertical Down Switch Signal

K

YEL

1519

Power Seat Rear Vertical Up Switch Signal

L

DK BLU

1520

Power Seat Front Vertical Down Switch Signal

M

DK GRN

1518

Power Seat Front Vertical Up Switch Signal

Seat Adjuster Switch - Driver (AG2)


Object Number: 62469  Size: CH

Connector Part Information

    • 12064998
    • 8-Way F Metri-Pack 280 Series (BLK)

Pin

Wire Color

Circuit No.

Function

A

DK GRN/

286

Driver Seat Front Vertical Motor Up Control

B

DK BLU

287

Driver Seat Front Vertical Motor Down Control

C

YEL

282

Driver Seat Rear Vertical Motor Up Control

D

LT BLU

283

Driver Seat Rear Vertical Motor Down Control

E

BLK

1150

Ground

F

LT GRN

284

Driver Seat Horizontal Motor Rearward Control

G

TAN

285

Driver Seat Horizontal Motor Forward Control

H

ORN

1440

Battery Positive Voltage

Seat Adjuster Switch - Front Passenger


Object Number: 476149  Size: CH

Connector Part Information

    • 15326110
    • 12-Way F GT 280 Series (BLK)

Pin

Wire Color

Circuit No.

Function

A

ORN

1440

Battery Positive Voltage

B

LT GRN

290

Passenger Seat Horizontal Motor Rearward Control

C

TAN

296

Passenger Seat Horizontal Motor Forward Control

D

BLK

1250

Ground

E

DK BLU

77

Passenger Seat Recline Motor Rearward

F

DK GRN

76

Passenger Seat Recline Motor Forward

G

DK BLU

298

Passenger Seat Front Vertical Motor Down Control

H

DK GRN

297

Passenger Seat Front Vertical Motor Up Control

J

LT BLU

289

Passenger Seat Rear Vertical Motor Down Control

K

YEL

288

Passenger Seat Rear Vertical Motor Up Control

L-M

--

--

Not Used

Lumbar/Bolster Switch - Driver


Object Number: 73146  Size: CH

Connector Part Information

    • 12052854
    • 7-Way F GT 280 Series (BLK)

Pin

Wire Color

Circuit No.

Function

A

ORN

1540

Battery Positive Voltage

B

WHT/RED

5701

Driver Seat Torso Bolster in Switch Signal

C-D

--

--

Not Used

E

TAN

2408

Driver Seat Lumbar Motor Rearward Switch Signal

F

YEL

2407

Driver Seat Lumbar Motor Forward Switch Signal

G

GRY/RED

5702

Driver Seat Torso Bolster Out Switch Signal

Lumbar/Bolster Switch - Front Passenger


Object Number: 73146  Size: CH

Connector Part Information

    • 12052854
    • 7-Way F Metri-Pack 280 Series (BLK)

Pin

Wire Color

Circuit No.

Function

A

ORN

1440

Battery Positive Voltage

B

DK BLU

2462

Passenger Seat Bolster Motor Forward Control

C

BLK

1250

Ground

D

--

--

Not Used

E

DK BLU

211

Passenger Seat Lumbar Motor Forward Control

F

WHT

210

Passenger Seat Lumbar Motor Rearward Control

G

LT BLU

2427

Passenger Seat Bolster Motor Rearward Control

Seat Bolster Motor/Position Sensor - Driver


Object Number: 815374  Size: CH

Connector Part Information

    • 15-97-5061
    • 6-Way F MOLEX (BLK)

Pin

Wire Color

Circuit No.

Function

1

PNK/BLK

1257

Driver Seat Torso Bolster In Control

2

--

--

Not Used

3

TAN/WHT

1258

Driver Seat Torso Bolster Out Control

4

DK BLU/WHT

5288

Low Reference

5

PPL/WHT

5700

Driver Seat Torso Bolster Position Sensor Signal

6

BRN

5287

12-Volt Reference

Seat Lumbar Motor/Position Sensor - Driver


Object Number: 815374  Size: CH

Connector Part Information

    • 15-97-5061
    • 6-Way F MOLEX (BLK)

Pin

Wire Color

Circuit No.

Function

1

PPL/WHT

611

Driver Seat Lumbar Motor Forward Control

2

--

--

Not Used

3

DK BLU/WHT

610

Driver Seat Lumbar Motor Rearward Control

4

DK BLU/WHT

5288

Low Reference

5

LT BLU

1063

Driver Seat Lumbar Horizontal Position Sensor Signal

6

BRN

5287

12-Volt Reference

Seat Recliner Motor - Driver


Object Number: 153645  Size: CH

Connector Part Information

    • 12129082
    • 2-Way F Metri-Pack 280 Series (GRY)

Pin

Wire Color

Circuit No.

Function

A

LT BLU

277

Driver Seat Recline Motor Rearward Control

B

LT GRN

276

Driver Seat Recline Motor Forward Control

Seat Recliner Motor Position Sensor - Driver


Object Number: 405591  Size: CH

Connector Part Information

    • 12059584
    • 3-Way F Metri-Pack 150 Series (BLK)

Pin

Wire Color

Circuit No.

Function

A

--

--

Not Used

B

BLK

570C

Low Reference

C

BLK/WHT

570

Driver Seat Recline Position Sensor Signal

D

WHT

570D

5-Volt Reference

Seat Recliner Motor - Front Passenger


Object Number: 153645  Size: CH

Connector Part Information

    • 12129082
    • 2-Way F Metri-Pack 280 Series (GRY)

Pin

Wire Color

Circuit No.

Function

A

DK BLU

77

Front Passenger Seat Recline Motor Rearward Control

B

DK GRN

76

Front Passenger Seat Recline Motor Forward Control

Seat Front Vertical Motor Position Sensor - Driver


Object Number: 900006  Size: CH

Connector Part Information

    • 104257-2
    • 3-Way F Amp (BLK)

Pin

Wire Color

Circuit No.

Function

A

RED

940

12-Volt Reference

B

LT BLU

557

Front Vertical Seat Motor Position Sensor Signal

C

BLK

950

Low Reference

Seat Front Vertical Motor - Driver


Object Number: 1073782  Size: CH

Connector Part Information

    • 12052109
    • 2-Way F M/P 280 Series (BLK)

Pin

Wire Color

Circuit No.

Function

A

BLK

287

Driver Seat Front Vertical Motor Down Control

B

RED

286

Driver Seat Front Vertical Motor Up Control

Seat Front Vertical Motor - Front Passenger


Object Number: 1073782  Size: CH

Connector Part Information

    • 12052109
    • 2-Way F M/P 280 Series (BLK)

Pin

Wire Color

Circuit No.

Function

A

RED

1518

Power Seat Front Vertical Up Switch Signal

B

BLK

1520

Power Seat Front Vertical Down Switch Signal

Seat Horizontal Motor Position Sensor - Driver


Object Number: 900006  Size: CH

Connector Part Information

    • 104257-2
    • 3-Way F Amp (BLK)

Pin

Wire Color

Circuit No.

Function

A

RED

940

12-Volt Reference

B

LT BLU

569

Horizontal Seat Motor Position Sensor Signal

C

BLK

950

Low Reference

Seat Rear Vertical Motor Position Sensor - Driver


Object Number: 900006  Size: CH

Connector Part Information

    • 104257-2
    • 3-Way F M/P 150 Series (BLK)

Pin

Wire Color

Circuit No.

Function

A

RED

940

12-Volt Reference

B

LT BLU

568

Rear Vertical Seat Motor Position Sensor Signal

C

BLK

950

Low Reference

Seat Rear Vertical Motor - Driver


Object Number: 1073782  Size: CH

Connector Part Information

    • 12129082
    • 2-Way F M/P 280 Series (BLK)

Pin

Wire Color

Circuit No.

Function

A

BLK

283

Driver Seat Rear Vertical Motor Down Control

B

RED

282

Driver Seat Rear Vertical Motor Up Control

Seat Rear Vertical Motor - Front Passenger


Object Number: 1073782  Size: CH

Connector Part Information

    • 12129082
    • 2-Way F M/P 280 Series (BLK)

Pin

Wire Color

Circuit No.

Function

A

RED

1519

Power Seat Rear Vertical Up Switch Signal

B

BLK

1521

Power Seat Rear Vertical Down Switch Signal