GM Service Manual Online
For 1990-2009 cars
Makes
🢒
Chevrolet
🢒
2004
🢒
Tahoe - 2WD
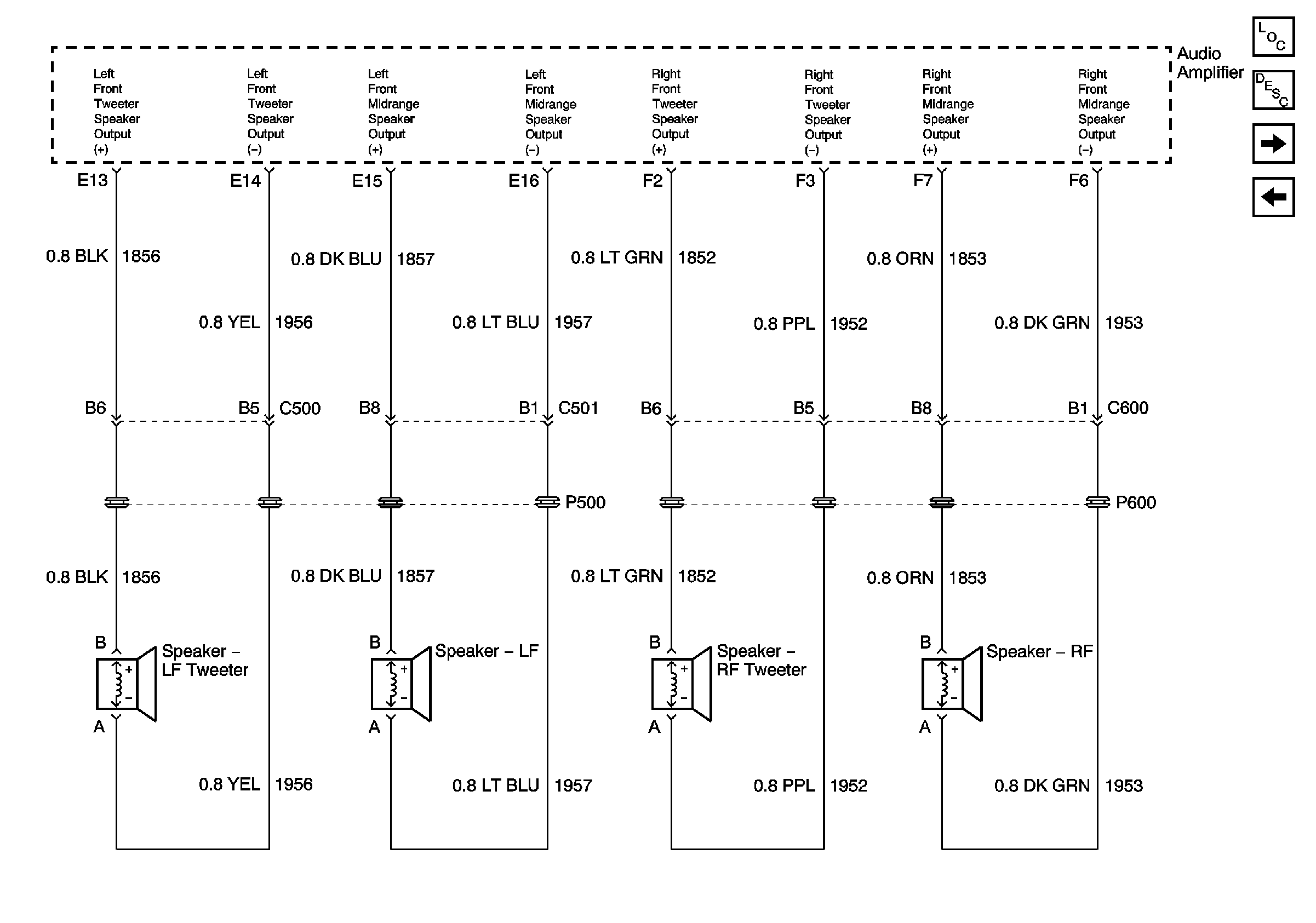
🢒 Front Speakers - U85
Front Speakers - U85
Front Speakers - U85
Master Electrical Component List
Radio/Audio System Description and Operation
Rear Speakers - U85
Amplifier - U85