GM Service Manual Online
For 1990-2009 cars
Makes
🢒
Chevrolet
🢒
2004
🢒
Tahoe - 2WD
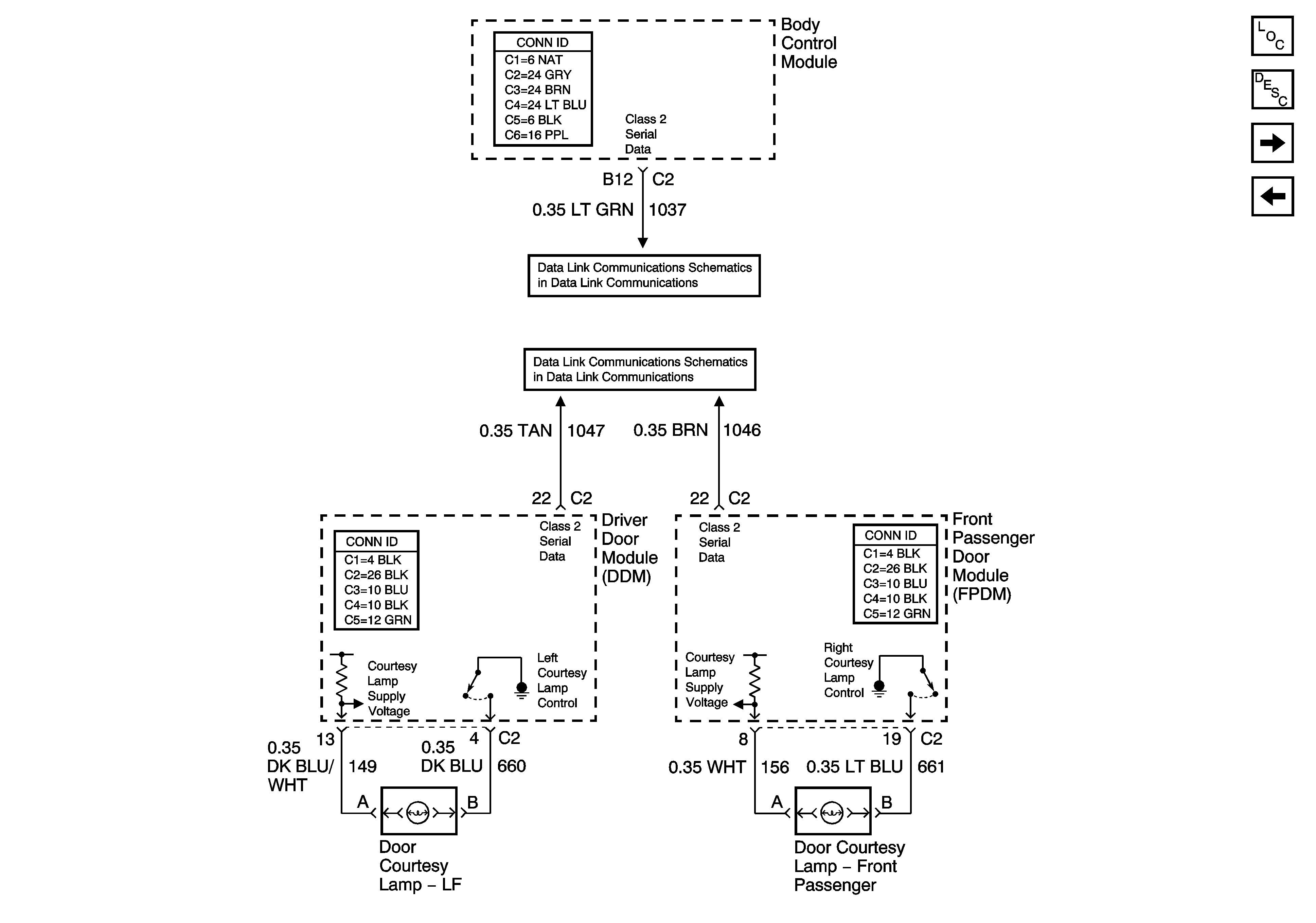
🢒 Courtesy Lamp Supply Voltage - 2 of 4
Courtesy Lamp Supply Voltage - 2 of 4
Courtesy Lamp Supply Voltage - 2 of 4
Master Electrical Component List
Interior Lighting Systems Description and Operation
Courtesy Lamp Supply Voltage - 3 of 4
Inadvertent Power Supply Voltage - 3 of 3
SP205 - 2 of 2
SP205 - 1 of 2