GM Service Manual Online
For 1990-2009 cars
Makes
🢒
Chevrolet
🢒
2004
🢒
Tahoe - 4WD
🢒
Driveline/Axle
🢒
Drive Axle - Locking/Limited Slip
🢒 Limited Slip Differential Disassembled Views
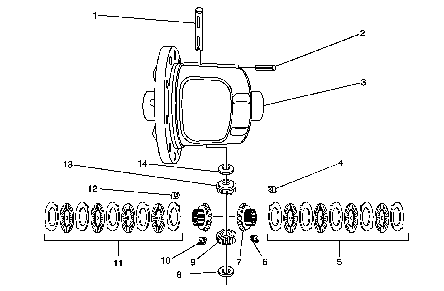
9.75 Limited Slip Differential
(1)
Pinion Mate Shaft
(2)
Roll Pin
(3)
Differential Housing
(4)
Retainer
(5)
Clutch Pack
(6)
Retainer
(7)
Differential Side Gear
(8)
Pinion Gear Thrust Washer
(9)
Differential Pinion Gear
(10)
Retainer
(11)
Clutch Pack
(12)
Retainer
(13)
Differential Pinion Gear
(14)
Pinion Gear Thrust Washer